
Verisign acaba de conseguir la patente número 8.356.081 para el "Registro Automatizado de dominios". Fue solicitada en 2005.
La génesis de esta patente fue la empresa idNames fundada por Pinky Brand y Marc Ostrofsky. Network Solutions compró esta empresa en 1998, que a su vez fue adquirida por VeriSign en el año 2000.
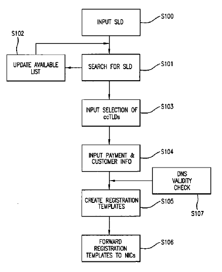
La patente describe un sistema automatizado y métodos para permitir a los usuarios encontrar y registrar dominios en difentes ccTLDs. El sistema permite a un usuario una búsqueda en tiempo real utilizando una sola sesión web en la que usuario tras encontrar los dominios que quiere puede registrarlos. Para ello se filtra información de cada ccTLD se ejecutan automáticamente las transacciones necesarias.
Los comentarios están cerrados