Esta web usa cookies para mejorar tu experiencia de usuario. Si continúas entendemos que das tu consentimiento. Leer más.

La regulación general de protección de datos Europea afectará al servcio de whois a partir del próximo año.

En algunos casos la carga recae en los Agentes Registradores con el modelo thin whois: los dominios .com y .net actualmente usan el Thin Whois mediante el cual el Agente Registrador gestiona una porción de la información del cliente y el Registro gestiona información técnica como servidores DNS.

Con el Thick Whois, como en las Nuevas Extensiones, el Registro gestionará toda la información del Whois.

Los dominios .com y .net van a pasar del Thin whois al Thick whois en 2018.

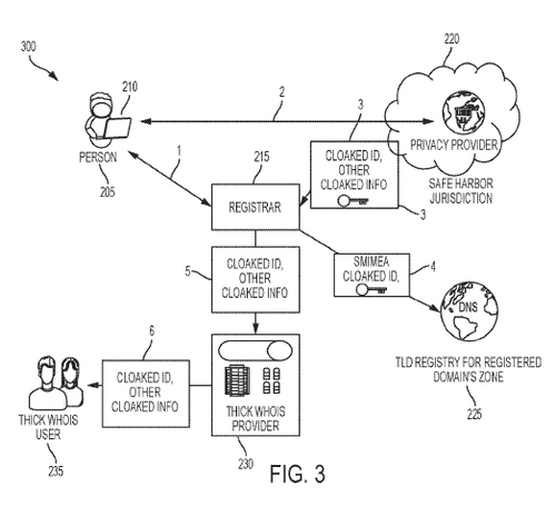
Verisign solicitó la patente en Mayo de 2016, que ha sido publicada ahora: "Systems and Methods for Preserving Privacy of a Registrant in a Domain Name System"

La patente describre un mecanismo para cumplir con los requisitos de la Unión Europea incluyendo el almacenaje de información de clientes en localizaciones legalmente permitidas.

Los comentarios están cerrados